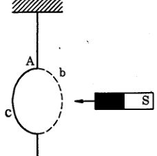
Khi đưa nam châm lại gần vòng dây thì hiện tượng nào sau đây không xảy
Khi đưa nam châm lại gần vòng dây thì hiện tượng nào sau đây không xảy ra?

Đáp án đúng là: B
Quảng cáo
Vận dụng lí thuyết về hiện tượng cảm ứng điện từ.
+ Khi từ thông qua một mạch kín (C) biến thiên thì trong (C) xuất hiện dòng điện cảm ứng.
+ Dòng điện cảm ứng có chiều sao cho từ trường cảm ứng có tác dụng chống lại sự biến thiên của từ thông ban đầu qua (C). Nói riêng, khi từ thông qua (C) biến thiên do một chuyển động nào đó gây ra thì từ trường cảm ứng có tác dụng chống lại chuyển động đó.
Đáp án cần chọn là: B
>> 2K8 Chú ý! Lộ Trình Sun 2026 - 3IN1 - 1 lộ trình ôn 3 kì thi (Luyện thi 26+ TN THPT, 90+ ĐGNL HN, 900+ ĐGNL HCM, 70+ ĐGTD - Click xem ngay) tại Tuyensinh247.com.Đầy đủ theo 3 đầu sách, Thầy Cô giáo giỏi, luyện thi theo 3 giai đoạn: Nền tảng lớp 12, Luyện thi chuyên sâu, Luyện đề đủ dạng đáp ứng mọi kì thi.
![]() |
![]() |
![]() |
![]() |
![]() |
![]() |
![]() |
![]() |
Hỗ trợ - Hướng dẫn
-
024.7300.7989
-
1800.6947
(Thời gian hỗ trợ từ 7h đến 22h)
Email: lienhe@tuyensinh247.com












