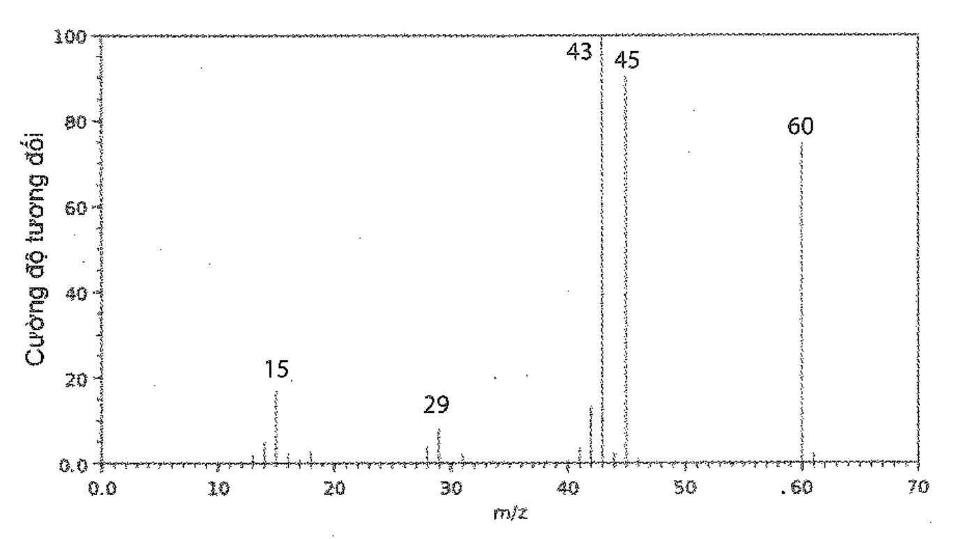
Phân tử acetic acid có phổ khối lượng (MS) như hình vẽ dưới đây:Phân tử khối của acetic acid
Phân tử acetic acid có phổ khối lượng (MS) như hình vẽ dưới đây:

Phân tử khối của acetic acid là
Đáp án đúng là: D
Quảng cáo
Dựa vào lý thuyết về cấu tạo phân tử hợp chất hữu cơ.
Đáp án cần chọn là: D
>> 2K9 Chú ý! Lộ Trình Sun 2027 - 1 lộ trình ôn đa kỳ thi (TN THPT, ĐGNL (Hà Nội/ Hồ Chí Minh), ĐGNL Sư Phạm, ĐGTD, ĐGNL Bộ Công an, ĐGNL Bộ Quốc phòngTD - Click xem ngay) tại Tuyensinh247.com. Cập nhật bám sát bộ SGK mới, Thầy Cô giáo giỏi, 3 bước chi tiết: Nền tảng lớp 12; Luyện thi chuyên sâu; Luyện đề đủ dạng đáp ứng mọi kì thi.
![]() |
![]() |
![]() |
![]() |
![]() |
![]() |
![]() |
![]() |
Hỗ trợ - Hướng dẫn
-
024.7300.7989
-
1800.6947
(Thời gian hỗ trợ từ 7h đến 22h)
Email: lienhe@tuyensinh247.com












