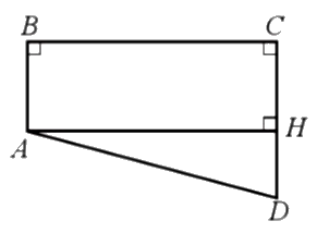
Hình dưới đây mô tả mặt cắt ngang tầng trệt của một ngôi nhà. Biết \(AB \bot BC,CD \bot BC\)
Hình dưới đây mô tả mặt cắt ngang tầng trệt của một ngôi nhà. Biết \(AB \bot BC,CD \bot BC\) và \(AB = 4\;{\rm{m}}\), \(CD = 7\;{\rm{m}},AD = 11\;{\rm{m}}\). Tính độ dài BC (làm tròn kết quả đến hàng phần mười của mét).

Đáp án đúng là: D
Quảng cáo
Kẻ AH vuông góc với CD tại \(H\)
Áp dụng định lí Pythagore trong tam giác ADH vuông tạ H, tính được AH.
Tính chất ABCH là hình chữ nhật: BC = AH
Đáp án cần chọn là: D
>> Học trực tuyến lớp 8 trên Tuyensinh247.com. Đầy đủ khoá học các bộ sách: Kết nối tri thức với cuộc sống; Chân trời sáng tạo; Cánh diều. Cam kết giúp học sinh lớp 8 học tốt, hoàn trả học phí nếu học không hiệu quả. PH/HS tham khảo chi tiết khoá học tại: Link
![]() |
![]() |
![]() |
![]() |
![]() |
![]() |
Hỗ trợ - Hướng dẫn
-
024.7300.7989
-
1800.6947
(Thời gian hỗ trợ từ 7h đến 22h)
Email: lienhe@tuyensinh247.com











