Chị Lan đun sôi nước bằng ấm điện. Biết rằng mối liên hệ giữa công suất hao phí
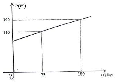
Chị Lan đun sôi nước bằng ấm điện. Biết rằng mối liên hệ giữa công suất hao phí \({\rm{P}}\left( {\rm{W}} \right)\) của âm điện và thời gian đun \(t\) (giây) được mô hình hóa bởi một hàm số bậc nhất có dạng \(P = at + b\) và có đồ thị như hình bên.
a) Hãy xác định các hệ số của a và b
b) Nếu đun nước với công suất hao phí là \(105\left( {\rm{W}} \right)\) thì thời gian đun là bao lâu?

Quảng cáo
>> Học trực tuyến lớp 9 và Lộ trình UP10 trên Tuyensinh247.com Đầy đủ khoá học các bộ sách: Kết nối tri thức với cuộc sống; Chân trời sáng tạo; Cánh diều. Lộ trình học tập 3 giai đoạn: Học nền tảng lớp 9, Ôn thi vào lớp 10, Luyện Đề. Bứt phá điểm lớp 9, thi vào lớp 10 kết quả cao. Hoàn trả học phí nếu học không hiệu quả. PH/HS tham khảo chi tiết khoá học tại: Link
![]() |
![]() |
![]() |
![]() |
![]() |
![]() |
Hỗ trợ - Hướng dẫn
-
024.7300.7989
-
1800.6947
(Thời gian hỗ trợ từ 7h đến 22h)
Email: lienhe@tuyensinh247.com










