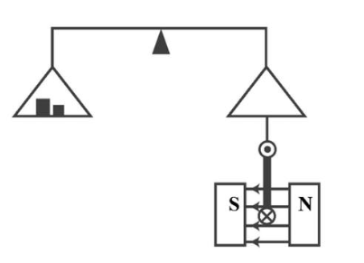
Hình vẽ bên minh họa một thí nghiệm khảo sát tác dụng của lực từ lên dây dẫn mang dòng
Hình vẽ bên minh họa một thí nghiệm khảo sát tác dụng của lực từ lên dây dẫn mang dòng điện: Khung dây dẫn phẳng hình vuông cạnh $a = 10\text{cm}$ gồm 100 vòng được treo thẳng đứng dưới một đĩa cân bằng dây cách điện. Cạnh dưới của khung nằm ngang trong từ trường đều của nam châm và vuông góc với đường sức từ, các cạnh còn lại coi như không chịu ảnh hưởng của từ trường. Dòng điện chạy qua cạnh dưới của khung có cường độ $I = 0,5\text{A}$ và có phương vuông góc với mặt phẳng hình vẽ, chiều hướng vào trong. Khoảng cách từ điểm treo hai đĩa cân đến trục quay là bằng nhau. Ban đầu phải đặt quả cân lên đĩa bên trái để đòn cân thăng bằng. Sau đó đảo ngược các cực từ của nam châm để đổi chiều của đường sức từ, để cân thăng bằng trở lại phải thêm vào đĩa cân bên trái một quả cân có khối lượng $150\text{g}$. Cho biết gia tốc trọng trường $g = 10\text{m/s}^{2}$. Tính độ lớn cảm ứng từ trong lòng của nam châm ra đơn vị tesla (kết quả làm tròn đến chữ số hàng phần trăm).

Đáp án đúng là:
Quảng cáo
Sử dụng công thức tính lực từ tác dụng lên đoạn dây dẫn mang dòng điện: $F = N \cdot B \cdot I \cdot l \cdot \sin\alpha$.
Vận dụng điều kiện cân bằng của mômen lực. Vì cánh tay đòn hai bên đĩa cân bằng nhau nên khi hệ cân bằng, tổng độ lớn các lực kéo hướng xuống ở hai bên đĩa cân phải bằng nhau.
Đáp án cần điền là: 0,15
>> 2K9 Chú ý! Lộ Trình Sun 2027 - 1 lộ trình ôn đa kỳ thi (TN THPT, ĐGNL (Hà Nội/ Hồ Chí Minh), ĐGNL Sư Phạm, ĐGTD, ĐGNL Bộ Công an, ĐGNL Bộ Quốc phòngTD - Click xem ngay) tại Tuyensinh247.com. Cập nhật bám sát bộ SGK mới, Thầy Cô giáo giỏi, 3 bước chi tiết: Nền tảng lớp 12; Luyện thi chuyên sâu; Luyện đề đủ dạng đáp ứng mọi kì thi.
![]() |
![]() |
![]() |
![]() |
![]() |
![]() |
![]() |
![]() |
Hỗ trợ - Hướng dẫn
-
024.7300.7989
-
1800.6947
(Thời gian hỗ trợ từ 7h đến 22h)
Email: lienhe@tuyensinh247.com












