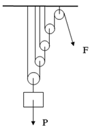
Cho hệ ròng rọc như hình vẽ. Vật nặng có trọng lượng \(1200\,\,N\). Để kéo được vật lên
Cho hệ ròng rọc như hình vẽ. Vật nặng có trọng lượng \(1200\,\,N\). Để kéo được vật lên thì lực F cần thiết là bao nhiêu? Tính công để kéo vật lên cao \(4\,\,m\)? Các ròng rọc có khối lượng không đáng kể, ma sát rất nhỏ.

Đáp án đúng là: C
Quảng cáo
Mỗi ròng rọc động sẽ được lợi 2 lần về lực
Công của lực: \(A = F.s\)
Đáp án cần chọn là: C
>> Học trực tuyến lớp 8 trên Tuyensinh247.com. Đầy đủ khoá học các bộ sách: Kết nối tri thức với cuộc sống; Chân trời sáng tạo; Cánh diều. Cam kết giúp học sinh lớp 8 học tốt, hoàn trả học phí nếu học không hiệu quả. PH/HS tham khảo chi tiết khoá học tại: Link
![]() |
![]() |
![]() |
![]() |
![]() |
![]() |
Hỗ trợ - Hướng dẫn
-
024.7300.7989
-
1800.6947
(Thời gian hỗ trợ từ 7h đến 22h)
Email: lienhe@tuyensinh247.com










