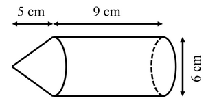
1) Tính thể tích của mô hình tên lửa trong hình bên. 2) Cho
1) Tính thể tích của mô hình tên lửa trong hình bên.

2) Cho tam giác \(ABC\) nhọn \(\left( {AB < AC} \right)\) nội tiếp đường tròn \((O).\) Hai đường cao \(BE\) và \(CF\) của tam giác\(ABC\) cắt nhau tại điểm \(H.\) Gọi \(K\) là trung điểm \(BC.\)
a) Chứng minh \(\Delta AEF\) đồng dạng \(\Delta ABC.\)
b) Chứng minh đường thẳng \(OA\) vuông góc với đường thẳng \(EF.\)
c) Đường phân giác góc \(FHB\) cắt \(AB\) và \(AC\) lần lượt tại \(M\) và \(N.\;\)Gọi \(I\)là trung điểm của \(MN,\,J\)là trung điểm của\(AH.\) Chứng minh tứ giác \(AFHI\)nội tiếp và ba điểm \(I,J,K\)thẳng hàng.
Quảng cáo
1) Thể tích của mô hình tên lửa = Thể tích thân tên lửa + Thể tích đầu tên lửa.
2) a) \(BE \bot AC\)⇒ \(\angle {BEC} = {90^0}\)
\(CF \bot AB\) ⇒ \(\angle {CFB} = {90^0}\)
⇒ Tứ giác \(BFEC\) là tứ giác nội tiếp.
b) Tứ giác BCEF nội tiếp ⇒ \(\angle {AEF} = \angle {ABC}\)
\(\Delta OAC\) cân tại O ⇒ \(\angle {EAO} = \dfrac{{{{180}^0} - \angle {AOC}}}{2}\)
\(\angle {ABC} = \dfrac{1}{2}\angle {ABC} \Rightarrow \dfrac{{{{180}^0} - \angle {AOC}}}{2} = {90^0} - \angle {ABC}\)
⇒ \(\angle {AEF} + \angle {EAO} = {90^0}\)⇒ \(AO \bot EF\)
c) Chứng minh \({\rm{\Delta }}AMN\) cân tại\(A\) vì \(\angle {AMN} = \angle {MBH} + \angle {MHB} = \angle {NCH} + \angle {NHC} = \angle {ANM}\) ⇒ \(AI \bot MN\)
\(\angle {AFH} = \angle {AIH} = {90^0}\) ⇒ Tứ giác \(AFHI\) là tứ giác nội tiếp.
Có \(\angle {MAH} = \angle {NAO} \Rightarrow \angle {IAH} = \angle {IAO} \Rightarrow IJ||AO\) suy ra \(IJ\)trung trực \(EF\)
Có \(JE = JF,KE = KF \Rightarrow \;\) \(KI\;\) trung trực \(EF\) ⇒ \(I,\;J,\;K\) thẳng hàng.
>> Học trực tuyến lớp 9 và Lộ trình UP10 trên Tuyensinh247.com Đầy đủ khoá học các bộ sách: Kết nối tri thức với cuộc sống; Chân trời sáng tạo; Cánh diều. Lộ trình học tập 3 giai đoạn: Học nền tảng lớp 9, Ôn thi vào lớp 10, Luyện Đề. Bứt phá điểm lớp 9, thi vào lớp 10 kết quả cao. Hoàn trả học phí nếu học không hiệu quả. PH/HS tham khảo chi tiết khoá học tại: Link
![]() |
![]() |
![]() |
![]() |
![]() |
![]() |
Hỗ trợ - Hướng dẫn
-
024.7300.7989
-
1800.6947
(Thời gian hỗ trợ từ 7h đến 22h)
Email: lienhe@tuyensinh247.com











