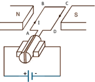
Sử dụng thông tin sau đây cho Câu 1 và Câu 2: Hình vẽ bên mô
Sử dụng thông tin sau đây cho Câu 1 và Câu 2: Hình vẽ bên mô tả nguyên lý hoạt động của động cơ điện một chiều. Khung dây hình chữ nhật ABCD có kích thước AB = 30 cm, BC = 20 cm, đặt trong từ trường đều của nam châm có độ lớn cảm ứng từ B = 0,6 T. Dòng điện một chiều có cường độ I = 5 A chạy qua khung dây. Tại thời điểm xét, mặt phẳng khung dây song song với đường sức của từ trường.

Trả lời cho các câu 1, 2 dưới đây:
Lực từ tác dụng lên cạnh AB có độ lớn là bao nhiêu N?
Đáp án đúng là:
Độ lớn lực từ: \(F = IBl\sin \alpha \)
Đáp án cần điền là: 0,9
Mô men ngẫu lực từ tác dụng lên khung dây ABCD có độ lớn là bao nhiêu N.m?
Đáp án đúng là:
Momen ngẫu lực: M = F.d
Đáp án cần điền là: 0,18
Quảng cáo
>> 2K9 Chú ý! Lộ Trình Sun 2027 - 1 lộ trình ôn đa kỳ thi (TN THPT, ĐGNL (Hà Nội/ Hồ Chí Minh), ĐGNL Sư Phạm, ĐGTD, ĐGNL Bộ Công an, ĐGNL Bộ Quốc phòngTD - Click xem ngay) tại Tuyensinh247.com. Cập nhật bám sát bộ SGK mới, Thầy Cô giáo giỏi, 3 bước chi tiết: Nền tảng lớp 12; Luyện thi chuyên sâu; Luyện đề đủ dạng đáp ứng mọi kì thi.
![]() |
![]() |
![]() |
![]() |
![]() |
![]() |
![]() |
![]() |
Hỗ trợ - Hướng dẫn
-
024.7300.7989
-
1800.6947
(Thời gian hỗ trợ từ 7h đến 22h)
Email: lienhe@tuyensinh247.com












