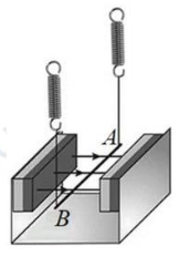
Một đoạn dây dẫn có khối lượng $10g$ được treo bằng các lò xo trong từ trường đều có
Một đoạn dây dẫn có khối lượng $10g$ được treo bằng các lò xo trong từ trường đều có độ lớn cảm ứng từ là $0,49T$ và hướng theo phương ngang (như hình vẽ). Phần dây dẫn AB nằm ngang trong từ trường và vuông góc với cảm ứng từ có chiều dài $0,10m$. Lấy $g = 9,8m/s^{2}$. Biết lò xo khi cân bằng ở trạng thái tự nhiên và dây treo không nhiễm từ, xác định cường độ dòng điện chạy trong đoạn dây theo đơn vị Ampe.

Đáp án đúng là:
Quảng cáo
Phân tích các lực tác dụng lên đoạn dây dẫn khi nằm cân bằng: Vì lò xo ở trạng thái tự nhiên, lực từ tác dụng lên đoạn dây dẫn mang dòng điện phải hướng lên và cân bằng với trọng lượng của đoạn dây.
Áp dụng công thức tính lực từ $F = B.I.l.\sin\alpha$ và điều kiện cân bằng lực $F = P = m.g$ để giải tìm cường độ dòng điện.
Đáp án cần điền là: 2
>> 2K9 Chú ý! Lộ Trình Sun 2027 - 1 lộ trình ôn đa kỳ thi (TN THPT, ĐGNL (Hà Nội/ Hồ Chí Minh), ĐGNL Sư Phạm, ĐGTD, ĐGNL Bộ Công an, ĐGNL Bộ Quốc phòngTD - Click xem ngay) tại Tuyensinh247.com. Cập nhật bám sát bộ SGK mới, Thầy Cô giáo giỏi, 3 bước chi tiết: Nền tảng lớp 12; Luyện thi chuyên sâu; Luyện đề đủ dạng đáp ứng mọi kì thi.
![]() |
![]() |
![]() |
![]() |
![]() |
![]() |
![]() |
![]() |
Hỗ trợ - Hướng dẫn
-
024.7300.7989
-
1800.6947
(Thời gian hỗ trợ từ 7h đến 22h)
Email: lienhe@tuyensinh247.com












